2011,04,02
東北関東大震災から、先日まで冷静さを失っていた。
生まれて初めて恐怖を感ずる揺れを経験したが、その後も余震や放射能に囚われていたのだ。
もうそんな場合ではないと、部品を求めに久しぶりに秋葉原へ行ってみた。
錦糸町の駅で、照明(LED電球も)が落とされていたり、エスカレーターが止められているのは想像できたが、総武線の車内の明かりまで消されているのには驚いた。
車内広告も数えるほどしか無い。 多数が撤去されたのだ。
しかし、乗客は何事も無いという風である。
秋葉原では、なるほど中国人が少ない。
免税店では、中国語の案内テープだけがけたたましい。
大通りで中国の新聞(日本語)を配っている人がいる。
もらってみた。
その中で、一つの写真記事に目が行った。

2011年3月24日 大紀元時報
http://www.epochtimes.jp/ |
「日本は被災したが、中国にいい教訓を与えてくれた」とする表題だ。
一部を引用:
中国ポータルサイト「新浪」のミニブログに投稿された写真。
足止めされた通勤客が、通行の妨げにならないように、階段の両脇に座るこの写真に多くの中国人が感動(スクリーンショット)
「冷静さに感服。学ぶべきものが多すぎる」
「『恐ろしい』民族だ。巨大な天災の前で、人間の善を持ち続けられるなんて」
「感動した。心の奥から。魂が」
「掲示板に飛び交う感嘆と反省の声の数々。「これほど巨大な天災が身近で起こることはかつてなかったが、中国人がこれほど素直に日本人への敬意を表すこともかつてなかったのではないか」とミニブログにメッセージを残した人もいた。(翻訳編集・帳懍音)」
引用以上 |
ただ普通に、エスカレータの右側を開けるように階段に座り、動かない電車を待っていただけだろう。
駅員に食ってかかっても無駄なことなのだから。
しかし、これは確かに冷静な対応なのだろう。
それを日本以外の常識からすれば、感動を超えて、恐ろしさとさえ感じたのだろう。
だが、被災地の惨状を考えれば、言葉にならない。
今、できることは何か。
今後の災難を小さくすることだ。
ようやく冷静になって、過去の貴重な経験から学んでみた。
阪神・淡路大震災のとき、もっとも被害を大きくしたのは、火災だった。
それも停電を復旧しての通電時だ。
阪神大震災の意外な出火原因
出火原因の約6割が通電火災によるものだと言われています。
http://www.zatugaku-king.com/zatugaku/52.html
その悲惨な事態を教訓として、今後は火災を防ぎたいと冷静に考えた日本人が多数いたことがわかる。
なぜなら、震災後に同じ内容の特許出願が多数出されたからだ。
地震による揺れで錘(おもり)が落ちて、ブレーカを切るのだ。
阪神・淡路大震災は、平成7年(1995年)1月17日(火)に起きた。
そして、最初の出願は3ヶ月後にされている。
その後、この出願が公開されるまでに、少なくとも13件の同様出願がなされている。
地震の揺れで、ブレーカを自動的に切る装置(手段)に関する特許出願例
特許電子図書館IPDL調べ及び公報引用
 |
【特開平08-287812】
【出願日】平成7年(1995)4月13日
【公開日】平成8年(1996)11月1日
【住所又は居所】兵庫県
【発明の名称】ブレーカーの振動感知回路遮断方法およびその装置 出願細項目記事 査定種別(査定無し)
最終処分(未審査請求によるみなし取下) 最終処分日(平14.7.23)
【0004】地震が発生すると、特に激しい地震が発生すると電力会社は電力供給を一時的に停止し、災害の発生を未然に防ぐ処置をとっている。しかし、電気は極めて公共性の高いライフラインのため、一応の安全が確認されると、できるだけ早い時期に電力の供給が再開されることとなる。ところが電気は局地的に個別に供給することはできず、ある範囲の地域毎に供給しなければならない。ところで非常に激しい地震の場合、電力の供給地域に全壊した住宅や半壊した住宅が発生する。そのため、住宅の全壊や半壊により、或いは全壊や半壊しなくとも住宅内で重量物が転倒することにより、使用中の電気器具がスイッチの入ったまま下敷きになって、スイッチが切れない場合がある。このような状態で、電力の供給が再開されると、上記のようなスイッチの入った状態の電気器具に電気が流れ、電気器具の故障や配線が他の物と接し、漏電したり或いは異常に発熱したりする。
|
 |
【特開平09-035611】
【出願日】平成7年(1995)7月18日 【住所又は居所】千葉県市
【目的】 従来は、ブレーカースイッチは、震動に依り切れることはなかった。それを、震動に依り切れる様にしたため、地震に依る2次災害が防げる。
|
 |
【特開平09-180619】
【出願日】平成7年(1995)12月26日 【住所又は居所】京都府
【課題】強震時にブレーカーを自動的に作動させる。
|
 |
【特開平09-213194】
【出願日】平成8年(1996)2月6日
【住所又は居所】北海道
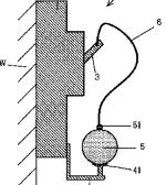
【解決手段】 地震時、重り1の落下によりブレーカーレバー3を操作させ、ブレーカの電源を遮断する。
|
 |
【特開平09-245604】
【出願日】平成8年(1996)3月12日 【住所又は居所】埼玉県 [課題] 大地震により、家屋が倒壊、屋内配線や機器の故障、電気機器の使いっぱなしや散乱、ガス漏れ等が生じた場合において、停電復旧に伴う再送電後に起こり得る電気火災を防止するとともに、停電復旧作業時における各電気端末の点検作業を省力化させる。
|
 |
【特開平09-298024】
【出願日】平成8年(1996)5月2日
【住所又は居所】千葉県
【課題】 大地震等の災害時には電源のブレーカー装置を自動的にOFFの状態にさせることができる電源回路の通電遮断装置及びその方法を提供する。
|
 |
【特開平10-012116】
【出願日】平成8年(1996)6月19日
【住所又は居所】神奈川県
【目的】 地震の時に電化製品や屋内配線の異常などで起きる、火災などは防ぎようがないが、地震の時に電気を止めることで防ぐことができる。
|
 |
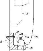
【特開平10-021814】
【出願日】平成8年(1996)7月3日
[目的] 本発明は、地震時の電力遮断装置及びガス遮断装置に係わり、特に、硬球を使用した簡便がセンサーを利用して、確実に電力の遮断やガスの供給の遮断を行い、火災の発生を防止することのできる地震時の電力遮断装置及びガス遮断装置を提供することを目的とする。
【住所又は居所】埼玉県 |
この(最初の)特許出願は、審査請求されず取り下げ扱いになっている。
つまり、誰もが自由に使って良い発明だ。
短い間に、多数の人が今後、同様の災難にあわないようと、冷静に考え行動したのだ。
今回の震災でも、電気は切るようにと報道された。
47 NEWS より引用
http://www.47news.jp/CN/201103/CN2011031101000874.html
避難時はブレーカー切って 大地震で消防庁など
東北・関東大地震で総務省消防庁や電力会社は11日、住居などから避難する際は、火災発生防止のためブレーカーや電気製品の電源を切るよう呼び掛けた。
東京電力の担当者によると、アイロンや電気ストーブのように熱を発する電気機器のスイッチを入れたままにすると、電気の復旧時に通電して周囲の物から発火し、火災につながる場合も考えられる。「熱を発する機器類は、コンセントも抜いておくとさらに安全だ」という。 2011/03/11
19:27 【共同通信】
上記の錘をブレーカに付ければ、安心して外出できる。
錘は、水を入れたペットボトルでも良い。
あるいは、錘として、電池を入れたトランジスタラジオを使い、落ちた際に電源が入るようにしても面白い。
商品にもなっている。 yahoo!ショッピング より。

耐震式コンセント4P 震災グッズ 地震 防災用品 電気をシャットダウン 節電 2次災害防止 震災予防
コンセント側での切断 特許出願例 (特許電子図書館IPDL調べ及び公報引用) |
 |
【特開2002-320685】
【発明の名称】地震安全器
【課題】 地震発生時電気器具の電源を遮断して火災等の2次災害を防止する地震安全器を提供する。
|
 |
【特開平09-092403】
【発明の名称】電路自動遮断装置
|
 |
【特開平08-223783】
【発明の名称】電気製品用地震ブレーカ
【目的】 地震時危険な電気ストーブ等の電流を自動的に遮断する。
|
 |
【特開平10-083868】
【発明の名称】コンセント組込型振動感知被作動式自動電源開閉スイッチ 機構
|
電源を切るだけでなく、節電(電力不足)をどうするかということも喫緊(さしせまった)問題です。
早速、今日の新聞に、とても良いと思う提言が載っていました。
冷静になれば、このような英知が多数出てくるであろうことは、過去の例からも明らかです。
あせらず、一歩ずつ考えて行きたいと思います。
|